Установка ограничителя скорости. Ограничитель скорости поступает с завода-изготовителя в собранном виде, запломбированный. Распломбировка ограничителя скорости не допускается. В его паспорте указана скорость, на которую он отрегулирован. Ограничитель скорости всегда устанавливают наверху в машинном или блочном помещении лифта.
Место установки ограничителя скорости определяется проектом монтажа лифта. В современных лифтах ограничитель скорости чаще всего устанавливают непосредственно на плиту перекрытия шахты лифта или на раму лебедки с помощью подставки. Предварительно проверяют направление действия ограничителя скорости, с тем чтобы ограничитель скорости приводил в действие ловители при движении кабины вниз. Для точной установки ограничителя скорости через ручей большого шкива опускают отвес на ось рычага троса ловителей. При этом отвес должен располагаться по центру рычага механизма включения конечного выключателя. Регулировку производят перемещением болтов крепления в пазах кронштейна ограничителя скорости. После указанной проверки подставку ограничителя скорости приваривают к закладным деталям плиты перекрытия шахты лифта или к раме лебедки. Затем регулируют положение установки конечного выключателя на раме ограничителя скорости.
Установка противовеса. Противовес обычно монтируют в приямке. Если шахта еще не перекрыта, то противовес опускают в шахту сверху с помощью башенного крана и устанавливают на подставки. Если шахты перекрыта, то между направляющими противовеса устанавливают деревянную подставку из брусьев 100 × 100 × 700 мм (рис. 2.15). Каркас противовеса подают краном к подъезду дома, разбирают и устанавливают нижнюю балку каркаса противовеса между направляющими на подставку, заносят стояки каркаса противовеса в приямок и крепят к нижней балке. Затем заносят верхнюю балку каркаса и соединяют болтами со стояками. После тщательной выверки каркаса противовеса окончательно затягивают все болты. Каркас кабины загружают грузами после навески кабины и противовеса на канаты.
Рис. 2.15. Установка каркаса противовеса: 1 — деревянная подставка; 2 — направляющая; 3 — каркас противовеса
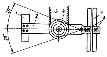
Монтаж каната ограничителя скорости. Установка натяжного устройства и буферов в приямке. Канат ограничителя скорости закрепляют одним концом на соединительной планке, перебрасывают через большой шкив ограничителя скорости и опускают в приямок. Натяжное устройство ограничителя скорости крепят в приямке согласно чертежу с помощью двух прижимов на 500 мм от уровня пола приямка (рис. 2.16). После этого канат укладывают в шкив натяжного устройства. Свободный конец троса крепят к планке тремя прижимами. Пружины надевают на стаканы буферов, которые заделаны в тумбы. Из машинного помещения на обеих ветвях каната ограничителя скорости устанавливают упоры для отключения конечного выключателя.
Рис. 2.16. Натяжное устройство: 1 — груз; 2 — рычаг; 3 — канат; 4 — блок; 5 — направляющая кабины; 6 — прижим
