ГЛАВА 5

АВТОМАТИЗАЦИЯ ИНЖЕНЕРНОГО ОБОРУДОВАНИЯ ЖИЛЫХ ЗДАНИЙ

§5.1. Диспетчеризация лифтов

С ростом строительства жилых и общественных зданий увеличивается насыщенность их инженерным оборудованием. В связи с этим растет число работах, занятых техническим обслуживанием инженерного оборудования зданий, увеличиваются эксплуатационные расходы. Поэтому стало необходимым повышение надежности лифтовых установок и всего инженерного оборудования зданий, удлинение срока службы и межремонтного периода, сокращение обслуживающего персонала при улучшении качества эксплуатации. Для улучшения этих показателей в жилищном хозяйстве поэтапно внедряют автоматизацию инженерного оборудования.

В результате внедрения ряда технико-организационных мероприятий и неуклонного внедрения системы ПНР стало возможным перейти в крупных городах от обслуживания лифтов индивидуальными лифтерами к обслуживанию лифтов лифтерами-обходчиками. Внедрение обслуживания всего инженерного оборудования жилых домов объединенной диспетчерской системой (ОДС) позволило сократить весь обслуживающий персонал жилищно-эксплуатационных контор в несколько раз, улучшить культуру обслуживания, сократить сроки простоя инженерного оборудования из-за неисправностей.

Для обеспечения наблюдения за работой лифтов организована диспетчеризация обслуживания лифтов по трехсигнальной схеме.

В соответствии с требованиями ПУБЭЛ для лифтов с автоматическим открыванием и закрыванием дверей между диспетчерским пультом и всеми кабинами лифтов должна быть обеспечена двусторонняя громкоговорящая связь, а для лифтов с ручным и полуавтоматическим закрыванием и открыванием дверей, кроме того, должна быть обеспечена на диспетчерском пульте сигнализация о закрытии всех дверей шахты и о наличии пассажира в кабине.

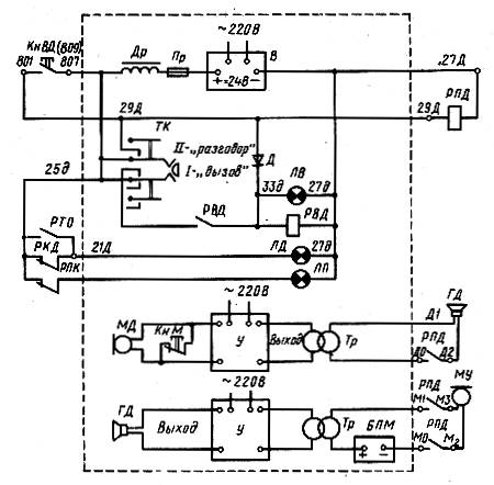
Принципиальная электрическая схема диспетчерского управления (рис. 5.1) работает на постоянном токе напряжением 24 В и основана на применении низковольтной телефонной аппаратуры.

Рис. 5.1. Принципиальная электрическая схема диспетчерской связи (вне пунктирного контура показано оборудование, поставляемое вместе с лифтом)

В комнате диспетчера установлены диспетчерский пульт, два выпрямителя типа ВСА-5К, из которых один резервный, четыре усилителя мощности типа АГУ-10 (два резервных), динамический микрофон диспетчера, громкоговоритель ГД, кнопка микрофона диспетчера КнМ, ключ связи с пассажиром ТК, сигнальные лампы («Вызов», «Пассажир», «Дверь шахты») и блок питания микрофонов БПМ. Все приборы смонтированы на лицевой стороне пульта. Внутри пульта установлены германиевые диоды.

В кабине каждого лифта монтируется угольный микрофон и динамик для громкоговорящей связи. На щите управления каждого лифта имеется реле подключения диспетчера РПД, так что дополнительной установки щитка в машинном помещении не требуется.

Сигнал «Вызов диспетчера» поступает при нажатии пассажиром кнопки КнВД, когда включается реле вызова диспетчера РВД по цепи: плюс выпрямителя ВСА-5К, Пр3, Др, контакт кнопки КнВП, диод Д, катушка реле РВД, минус выпрямителя ВСА-5К. Включается реле РВД, и загорается сигнальная лампа «Вызов» пульта ЛВ.

Световой сигнал будет сохраняться, несмотря на то, что пассажир отпустит кнопку КнВП, так как включившееся реле РВД своим контактом создаст поддерживающую цепь питания реле РВД и сигнальной лампы «Вызов»: плюс выпрямителя, ВСА-5К, Пр3, Др, 21, ключ ТК, контакт РВД, кaтyшкa РВД (параллельно лампа «Вызов»), 9, минус выпрямителя ВСА-5К.

Когда диспетчер установит ключ связи с пассажиром ТК в верхнее положение, то включится реле подключения диспетчера РПД по цепи: плюс выпрямителя ВСА-5К, Пр3, точка 21, ключ ТК, катушка РПД, минус выпрямителя ВСА-5К. Контакты реле РПД включат цепь громкоговорящей связи. Диспетчер включает кнопку микрофона диспетчера КнМ и громкоговорящая связь подготовлена к двустороннему разговору.

Сигнал «Дверь шахты открыта» поступает от контактов РКД и РТО, которые включают сигнальную лампу ЛД при открытии любой двери и при движении лифта.

Сигнал «Пассажир в кабине» поступает от контакта РПК, который включает сигнальную лампу ЛП при нахождении пассажира в кабине.

Предыдущая | Оглавление | Следующая


Религия

Биология

Геология

Археология

История

Мифология

Психология

Астрономия

Разное